1
/
von
8
DELPHI
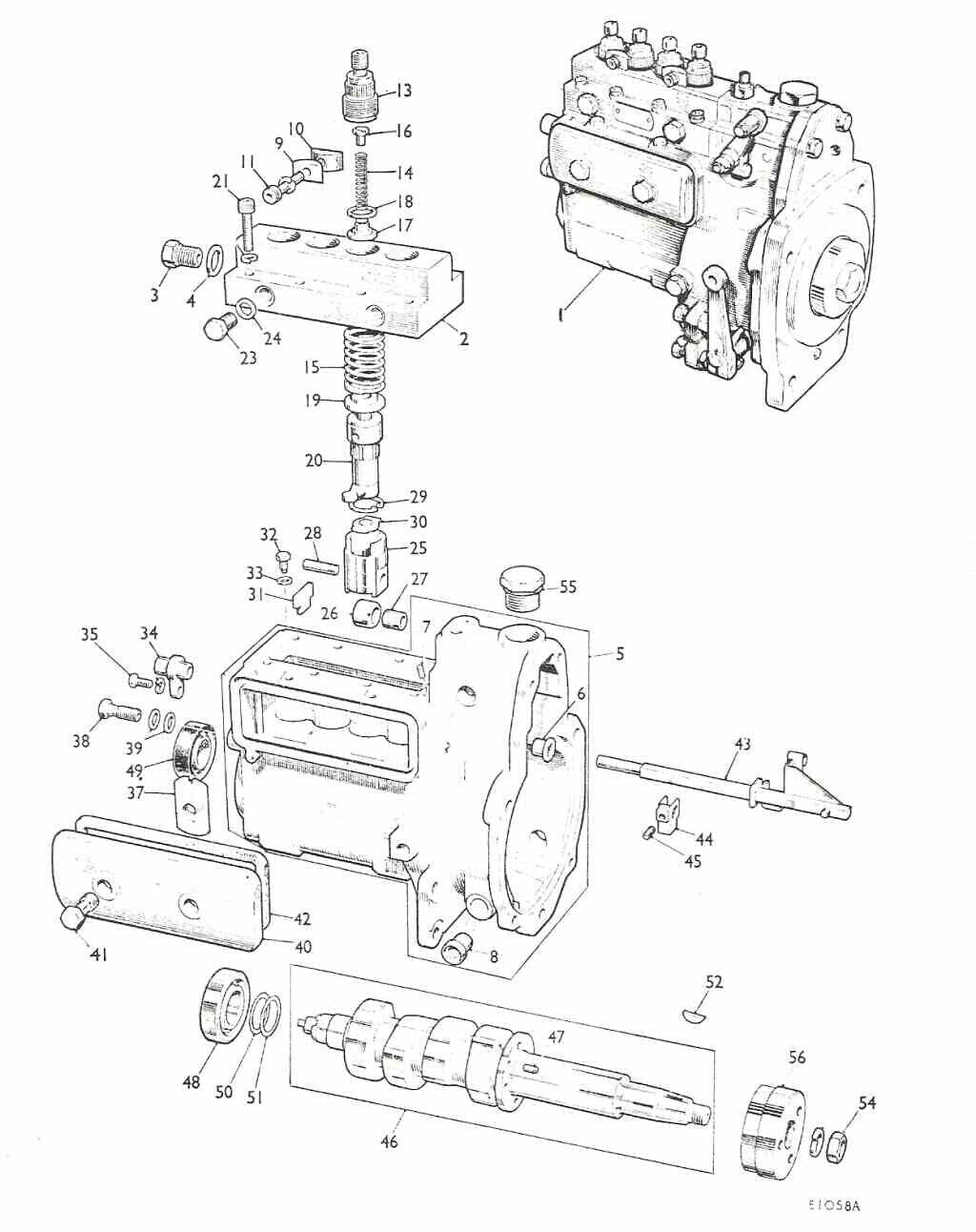
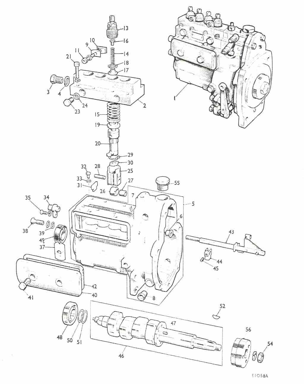
Lucas CAV 503243 Simms 9.5RH Pumpenelement 512505-74 passend für Sabre Marine Pumpe P5496
Lucas CAV 503243 Simms 9.5RH Pumpenelement 512505-74 passend für Sabre Marine Pumpe P5496
Normaler Preis
$62.18 USD
Normaler Preis
Verkaufspreis
$62.18 USD
Inkl. Steuern.
Versand wird beim Checkout berechnet
Anzahl
Verfügbarkeit für Abholungen konnte nicht geladen werden
NEUES ECHTES SIMMS DELPHI (LUCAS CAV) TEIL:
einzeln verkauft
Lucas CAV 503243 Simms 9.5RH Pumpenelement 512505-74
Brandneuer Altbestand.
Simms-Element (P&B Plunger and Barrel)
Passend für Sabre Marine Pumpe P5496
EIN JAHR GARANTIE AUF DIESES PRODUKT.
WIR SIND EIN VOLLSTÄNDIG AUTORISIERTER DIESELKRAFTSTOFF-EINSPRITZWERK MIT 33 JAHREN ERFAHRUNG.
ALLE DIESE PUMPEN ODER TEILE WURDEN NACH OEM-STANDARDS NEU GEBAUT ODER HERGESTELLT, UNTER VERWENDUNG VON ORIGINALDICHTUNGEN UND -TEILEN.
DIESEL SPECIALISTS INC.
BESCHRÄNKTE GARANTIERICHTLINIE
Diesel Specialists Inc., im Folgenden als DSP bezeichnet, gibt die heraus
Folgende Garantie gilt für alle DSP-Produkte. Diese Garantie erstreckt sich auf die
Nur der ursprüngliche Käufer des Produkts ist berechtigt, es sei denn, DSP hat dies schriftlich genehmigt.
Es wird garantiert, dass unser Produkt frei von Material- oder Verarbeitungsfehlern ist
bei normalem Gebrauch und Betrieb für einen Zeitraum von (1) einem Jahr ab dem Original
Kaufdatum. Die Verpflichtung von DSP im Rahmen dieser Garantie beschränkt sich auf die
Reparatur oder Austausch des defekten Geräts. Reparatur oder Austausch des Geräts
liegt im alleinigen Ermessen von DSP. Das defekte Gerät muss zurückgegeben werden
innerhalb von 30 Tagen nach dem Fehlerdatum, um für die Garantie berücksichtigt zu werden.
Bei jedem Produkt, das nicht gemäß den Richtlinien des Herstellers installiert wird, ist dies der Fall
fallen nicht unter die Garantie von DSP.
Diese eingeschränkte Garantie ersetzt alle anderen ausdrücklichen oder ausdrücklichen Garantien
impliziert. Alle Verpflichtungen oder Haftungen von DSP werden ausdrücklich abgelehnt, einschließlich
Ansprüche auf R&R-Kosten, Haftung für Folgeschäden, Ausfallzeiten, Verluste
Umsatzeinbußen oder sonstige Unannehmlichkeitskosten.
Unser Produkt ist für die Installation durch den Käufer eines DSP-Produkts vorgesehen. Beliebig
Schäden oder Mängel, die durch einen Drittinstallateur verursacht wurden, liegen in der alleinigen Verantwortung von
der ursprüngliche Käufer des Produkts. Darüber hinaus ist DSP nicht verantwortlich
etwaige R&R-Kosten, Haftung für Folgeschäden, Ausfallzeiten, Verlust von
Einnahmen oder andere Unannehmlichkeiten im Zusammenhang mit Drittinstallateuren von
unser Produkt.
DSP übernimmt keine Haftung oder Verantwortung für Pumpenausfälle, die darauf zurückzuführen sind
die Verwendung von Kraftstoffen und/oder Additiven, die nicht vom Originalhersteller zugelassen sind
Motor und/oder Fahrzeug.
Diese Garantie gilt nicht für Teile oder Einheiten, die verändert wurden oder
von jemand anderem als DSP repariert werden. Auch nicht zu irgendeinem Produkt, das gewesen ist
Missbrauch, Missbrauch, Vernachlässigung, Unfall, unsachgemäße Installation oder Beschädigung unterliegen
vor Fremdkörpern wie Wasser oder Schmutz. Diese Garantie wird nur anerkannt
in den Einrichtungen der DSP.
Internationale Käufer – Bitte beachten Sie:
a) Einfuhrzölle, Steuern und Gebühren sind nicht im Artikelpreis oder den Versandkosten enthalten. Diese Gebühren liegen in der Verantwortung des Käufers.
b) Bitte erkundigen Sie sich vor dem Bieten/Kauf beim Zollamt Ihres Landes, wie hoch diese zusätzlichen Kosten sein werden.
c) Diese Gebühren werden normalerweise vom liefernden Frachtunternehmen (Versandunternehmen) oder bei der Abholung des Artikels erhoben – verwechseln Sie sie nicht mit zusätzlichen Versandkosten.
Offizielle PayPal-Umrechnungskurse
Fügen Sie Ihren Artikeln einen Währungsrechner hinzu
Aktie

Abonnieren Sie unsere E-Mails
Erfahren Sie als Erster von neuen Kollektionen und exklusiven Angeboten.